首页
部门简介
现任领导
综合科
社科项目管理科
科技项目管理科
平台与成果管理科
横向项目管理科
科研平台
省级平台
市级平台
校级平台
科研成果
科研奖励
知识产权
论文论著
学术论坛
其他
服务指南
综合办公
自科项目
社科项目
横向项目
科研平台
科研成果
党建专题
通知公示
科研新闻
学术委员会
章程
成员
纪要
学风建设
文档下载
综合办公
自科项目
社科项目
横向项目
科研平台
科研成果
管理制度
国家科研管理制度
省市地方科研管理制度
学校科研管理制度
关于我们
您当前位置:
首页
服务指南
自科项目
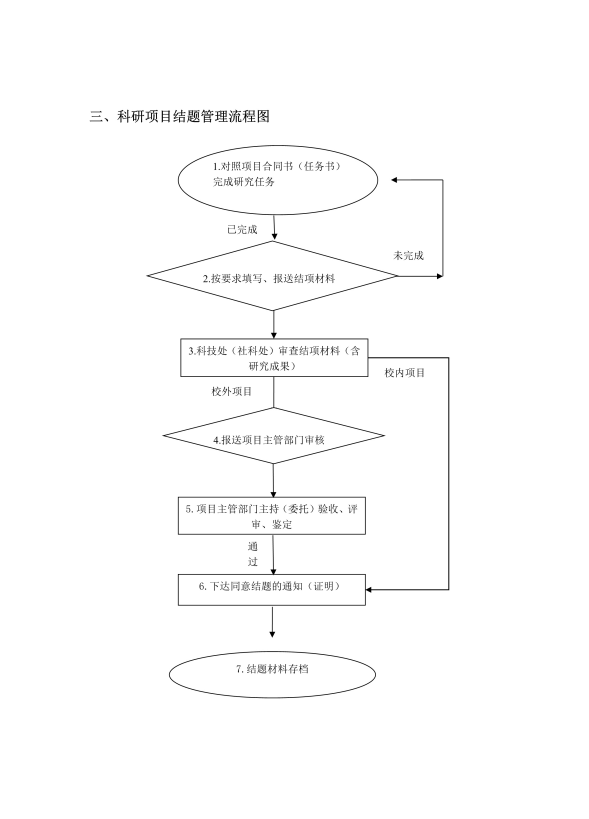
科研项目结题管理流程图
发布时间:
2023-08-23
浏览次数:
50