首页
机构设置
部门简介
处领导及分工
人事科
师资科
工资科
教师工作部办公室
离退休工作办公室
人才服务中心办公室
人事档案管理中心
教师教学发展中心
人事政策
国家政策
省市政策
校内政策
师资工作
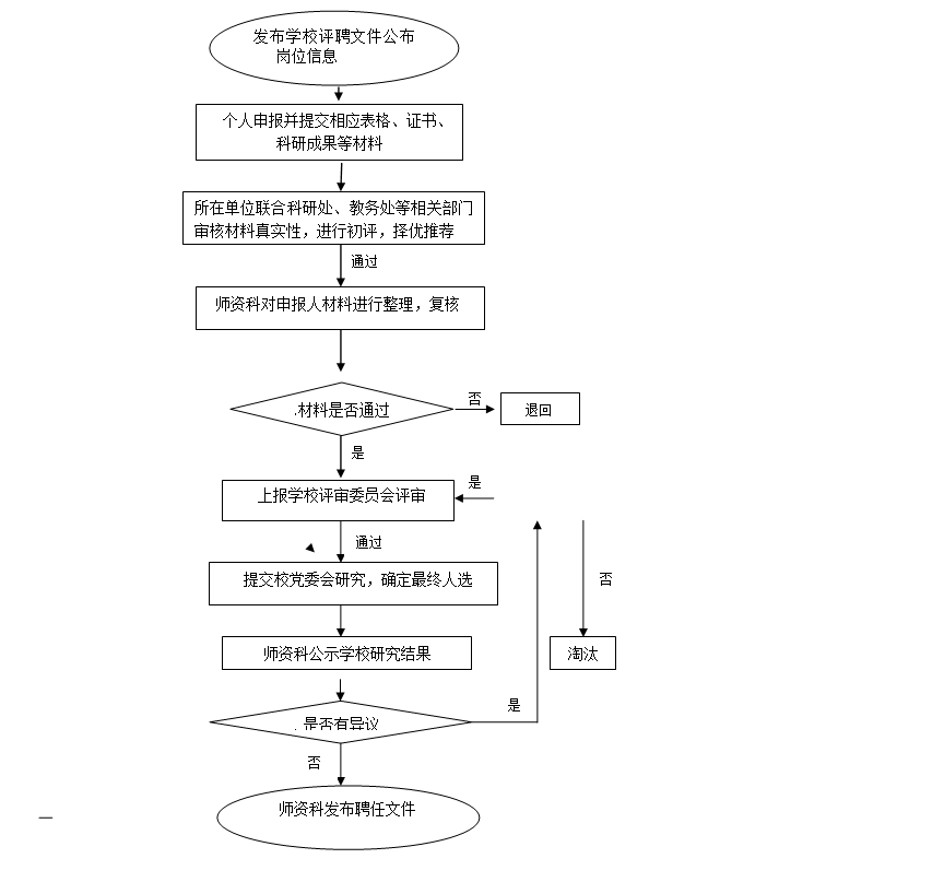
职称评聘
进修工作
聘期考核
双师型队伍
高校教师资格证
招聘信息
高层次人才引进
台湾人才引进
毕业生招聘
人才队伍
教师发展
教师教学发展中心
服务指南
文档下载
您当前位置:
首页
服务指南
职称评聘流程
发布时间:
2020-12-18
浏览次数:
889